Технические требования
В технических условиях [6] на комбинированные блоки для питания устройств релейной защиты требования к электрической изоляции изложены
в том же разделе, что и требования электробезопасности.
Данный документ требует, чтобы конструкция блока обеспечивала класс защиты I по [7], и имела зажим защитного заземления, обозначенный специальным графическим символом.
Сопротивление между зажимом защитного заземления и каждой доступной для прикосновения металлической нетоковедущей частью блока, которая может оказаться под напряжением, не должно превышать 0,1 Ом.
На лицевой панели блока питания должна быть нанесена предостерегающая надпись, указывающая время разряда ёмкостного накопителя до безопасного напряжения [8], а также предупреждающий знак « » «Опасность поражения электрическим током» по [9].
» «Опасность поражения электрическим током» по [9].
Электрическое сопротивление изоляции цепей блоков питания должно быть не менее:
- 100 Мом – в холодном состоянии при нормальных климатических условиях по [10];
- 1 Мом – при повышенной влажности.
Нормальные климатические условия в нормативных документах определены следующим образом:
- температура воздуха от +15 до + 350С;
- относительная влажность воздуха от 45 до 80%;
- атмосферное давление от 84 до 106 кПа (от 630 до 800 мм рт. ст.).
В связи с тем, что сопротивление изоляции зависит от температуры окружающего воздуха, его измерение не производят при температуре
ниже 00С.
Перечень цепей, изоляция которых подлежит контролю, приведем ниже, при описании методики контроля изоляции.
Электрическая изоляция цепей соединителей блоков питания в холодном состоянии при нормальных климатических условиях относительно зажима защитного заземления и между собой должна выдерживать без электрического пробоя и поверхностного разряда испытательное напряжение переменного тока частотой 50 Гц с действующим значением 2500 В.
Электрическая изоляция цепей контактов соединителей блоков питания,
в холодном состоянии и при нормальных климатических условиях относительно зажима защитного заземления и между собой должна выдерживать без электрического пробоя и поверхностного разряда воздействие трёх положительных и трёх отрицательных импульсов максимальной амплитудой 5,0 кВ ±10 %, длительностью 50 мкс с интервалом между импульсами не менее 5 с.
О технологической операции «контроль изоляции»
В общем случае при контроле изоляции (рис. 1) определяют один или несколько показателей качества электрической изоляции [1]:
- сопротивления изоляции;
- абсорбции коэффициента;
- электрической прочности при воздействии постоянного, переменного, и импульсного напряжения [2, 3, 4, 5];
- тангенса угла диэлектрических потерь.
|  | 
| Рисунок 1. Алгоритм контроля изоляцииУД – устранение дефекта, ПД – поиск дефекта,С – сушка изоляции, И – логическое «И» | 
Контроль изоляции производят во время приемосдаточных испытаний изделий на заводе-изготовителе, а также при вводе в эксплуатацию нового оборудования и электрооборудования после ремонта.
Таким образом, из указанных на рис. 1 характеристик изоляции, при испытаниях блоков питания проверяют только две:
- сопротивление;
- электрическую прочность.
Электробезопасность
Согласно требованиям электробезопасности по способу защиты человека от поражения электрическим током комбинированные блоки питания отнесены к классу I [7], что подразумевает наличие рабочей изоляции и элемент заземления. В связи с тем, что блок не имеет провода для подключения к источнику питания, то наличие заземляющей жили и вилки с заземляющим контактом не требуется.
Качество рабочей изоляции будет проверено при измерении сопротивления изоляции и испытании её электрической прочности.
Проверку наличия элемента заземления и его состояние производят перед подключением блока к стенда при визуальном контроле.
Для измерения сопротивление между зажимом заземления и каждой доступной для прикосновения металлической нетоковедущей частью блока (проверка непрерывности цепи заземления), которая может оказаться под напряжением, выполняют с помощью миллиометра или испытательной установки (см. рис. 5). Измерение этого сопротивления выполняют при проведении квалификационных или периодических испытаниях, либо по требованию заказчика.
Блок считается выдержавшим испытание, если сопротивление между зажимом заземления и любой из доступных для прикосновения нетоковедущих частей блока питания не превышает 0,1 Ом.
Измерение сопротивления изоляции
Для обеспечения сопоставимости полученных результатов все измерения
следует производить в одинаковых условиях. Поэтому перед измерением блок питания должен быть выдержан в нормальных климатических условиях
не менее 2 ч и находиться в выключенном состоянии не менее 1 ч.
О небходимости соблюдения данных условий изготовитель сообщает специальным примечанием, размещенном обычно в программе и методике испытаний, например:
|   | 
Перед выполнением измерений необходимо определить точки контроля сопротивления изоляции. Для рассматриваемого блока питания в программе и методике указано:
- сопротивление изоляции контактов соединителей «2» [, ] (рис. 2), «1» [], «3» [] относительно зажима защитного заземления и между собой.
Измерение сопротивления изоляции указанных цепей выполняют мегаомметром М4100/5 с номинальным напряжением 2500В.
Значение напряжения выбрано в соответствии с требованиями [13], в п. 6.2.1 которого написано «Для цепей, питаемых непосредственно от измерительных трансформаторов тока испытательное напряжение должно быть не менее 2 кВ».
Данное требование распространяется и на цепи, к которым подключают длинные соединительные провода. Хотя в стандартах нет указаний относительно длины проводов, ориентиром может служить значение, ограничивающее длину соединительных проводов, используемых при испытаниях – 2 м.
Необходимо учесть, что в изделии могут быть цепи, сопротивление изоляции которых следует измерять при другом напряжении (1000 В или 500 В) либо вообще не контролировать.
Для ускорения процесса измерений на заводе изготовителе используют специализированное оборудование, позволяющее сократить затраты на подключение и отключение измерительного приборов, а также облегчающего поиск цепи, сопротивление изоляции которой по результатам испытаний оказалось ниже нормы (рис. 2).
|  | 
| Рис. 2 Структурная схема стенда измерения сопротивления изоляции | 
Основные блоки стенда устройство измерения сопротивления изоляции А3, блок коммутации А1, блок управления А2 с переключателем 2 и
тумблерами 1 ,устройство подключения А4 соединены между собой жгутами постоянно.
В коммутаторе использованы коммутационные аппараты на напряжение 24 В, управляющие работой высоковольтных реле, контакты которых коммутируют цепи испытываемого изделия и рассчитаны на напряжение 5 кВ.
Перед подключением блока питания к стенду следует проверить
наличие зажима заземления и его состояние (см. выше раздел Электробезопасность).
Испытываемый блок питания А5 подключают к соединительному устройству с помощью сменного жгута 4. Для подключения к стенду других блоков вместо жгута 4 используют иные жгуты, с другим количеством проводников и другой схемой их соединения.
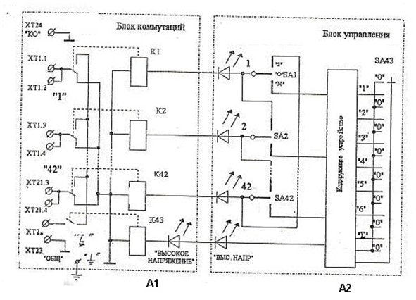
Рукояткой переключателя выбирают группу цепей изделия А5, на которые затем подают напряжение от устройства измерения сопротивления изоляции А3. После успешного прохождения проверки с помощью переключателя SA43 (рис. 3) подключают следующую группу цепей.
|  | 
| Рис. 3 Упрощенная схема стенда контроля изоляции | 
При работающем оборудовании переключатель SA43 переводят в следующее положение, выдерживая паузу не менее 1 с.
В положениях «1» – «6» переключателя SA43 на испытываемые цепи поступает высокое напряжение, о чем сигнализируют светодиоды «Высокое напряжение» в блоке А1 и «Выс. напр» в блоке А2.
При изменении положения переключателя от «1» до «6» проходят проверку все 42 подключенные к блоку коммутации цепи. В положение «Σ»
проверяется сопротивление изоляции всех соединенных вместе цепей относительно «земли».
Электрическая изоляция блока коммутаций А1 должна быть не менее 5 кВ, а корпуса всех составных частей на время испытаний следует заземлять.
Согласно требованиям, установленным в [11], значение сопротивления изоляции определяют после достижения установившегося значения, но не ранее, чем по истечении 5 с после приложения испытательного напряжения.
Испытания электрической прочности изоляции
Рассматриваемый стенд позволяет проводить испытания электрической прочности изоляции изделия импульсным и повышенным напряжением, для чего в стенде предусмотрена возможность подключения соответствующих испытательных установок, подключаемых на место устройства А3 (на рис. 2).
Как правило, испытания импульсным напряжением (стандартным
импульсом грозового разряда) проводят при квалификационных и периодических испытаниях.
Для проверки устройств, применяемые в релейной защите, подают импульсы (три положительных и три отрицательных) с амплитудой (5,0 ± 0,5) кВ, интервал между импульсами должен быть не менее 5 с. Характеристики импульса, приведенные в различных стандартах, таковы:
- длительность фронта – (1,2 ± 0,36) мкс;
- длительность полуспада – (50 ±10) мкс.
Длительность полного импульса Ти определяют как интервал времени между условным началом импульса О1 и моментом на спаде импульса, когда значение напряжения понизилось до половины максимального значения. При линейной временной развертке длительность импульса равна длине отрезка O1D (рис. 4).
|  | 
| Рис. 4 Стандартный грозовой импульс по [12] | 
. Испытание грозовым импульсом производят между каждой цепью (или каждой группой цепей, имеющих одинаковый уровень изоляции) и корпусом (землей).
Изоляцию между двумя независимыми цепями испытывают самым высоким импульсным напряжением, из указанных в документации.
Используемые по время испытаний генераторы импульсных сигналов должны иметь такие характеристики:
- полное выходное сопротивление – (500±50) Ом;
- энергия выходного импульса – (0,5 ±0,05) Дж.
При использовании неавтоматизированной испытательной установки следует предварительно установить на её выходе напряжение, составляющее не более 50% заданного в документации на изделие и только после этого подключают выход установки к испытываемому объекту.
После этого напряжение плавно увеличивают до заданного значения и поддерживают его в течение 1 мин, после чего быстро и плавно снижают испытательное напряжение до нуля.
Критерием успешности испытаний повышенным напряжением служит отсутствие пробоев и перекрытий изоляции. Дополнительным критерием может служить предельный ток утечки, задаваемый в документации на изделие.
Наиболее целесообразно для контроля изоляции использовать современные приборы (рис. 5), объединяющие высоковольтную испытательную установку, измеритель параметров электробезопасности электроустановок и мегаомметр.
|  | 
| Рисунок 5. Высоковольтная испытательная установка Metrel MI 2094 | 
В приборах данного типа весь процесс измерения автоматизирован, напряжение изменяется по заданной программе. В процессе испытаний прибор контролирует ток утечки, а при превышении заданного значения тока утечки отключает высокое напряжение от проверяемого изделия.
Возможность подключения установки к персональному компьютеру позволяет программировать процедуру измерения и задать последовательность измерений для автоматизации процесса испытаний.
Литература
1. Захаров О.Г. Словарь-справочник по настройке судового электрооборудования. Л.: Судостроение, 1987, 216 с
2. Правила устройства электроустановок. // 7-е издание
3. РД 34.45-51.300-97. Объем и нормы испытаний электрооборудования.
М.: Издательство «НЦ ЭНАС», 2004
4. РД 34.35-310-97. Общие технические требования к микропроцессорным устройствам защиты и автоматики энергосистем. М.: ОРГРЭС, 1997
5. ГОСТ 15162-97. Электрооборудование и электроустановки переменного тока на напряжение 3 кВ и выше.
6. ДИВГ.436745.001 ТУ. Блоки питания комбинированные БПК-5.Технические условия. СПб, НТЦ «Механотроника», 2013
7. ГОСТ 12.2.007.0-75. Изделия электротехнические. Общие требования безопасности
8. ГОСТ Р МЭК 60536-2 – 2001 Классификация электротехнического
и электронного оборудования по способу защиты от поражения электрическим током. Часть 2 руководство для пользователей по защите от поражения электрическим током.
9. ГОСТ Р 12.4.026-2001. Цвета сигнальные, знаки безопасности и разметка
Сигнальная. Назначение и правила применения. Общие технические требования и характеристики. Методы испытаний.
10. ГОСТ 20.57.406-81. Комплексная система контроля качества изделия электронной техники, квантовой электроники и электротехнические. Методы испытаний.
11. ГОСТ 30328-95 . Реле электрические. Испытание изоляции.
12. ГОСТ 1516.2-97. Электрооборудование и электроустановки переменного тока на напряжение 3 кВ и выше. Общие методы испытаний электрической прочности изоляции
13. ГОСТ Р 50514- 931. Реле электрические. Испытания изоляции.
1 На территории РФ стандарты ГОСТ 30328-95 и ГОСТ Р 50514- 93 имеют одинаковую силу вследствие их идентичности
Комментарий проверяется
Текст комментария будет виден после проверки администратором.